How to Print & Assemble The OLIT-S2

How to print the OLIT-S2

If you want to save this How-To instruction as a pdf file (and print it out later if needed), simply copy the URL of this page and paste it to https://www.printfriendly.com/ . Printfriendly will generate a printer-friendly pdf of the page with all the texts and images for you.

Please consider joining Morethan3D community on our Discord channel to discuss 3D printing hints & tips, ask questions, and get help if you come across any printing issues.

To make the OLIT-S2, you’ll need to make the OLIT-S1 first, the OLIT-S2 contains various new parts that will be fitted to the existing OLIT-S1 model.

If you haven’t done so, follow this guidance to print and assemble your OLIT-S1 model: “How To Print & Assemble The OLIT-S1”

All of the STL files are really straight forward to print. All you need to do is load them into your slicer software (I use Cura), select your desirable settings (e.g. layer height, infill percentage, etc.) and slice the parts. I used 0.4mm nozzle 0.2mm layer height to print ALL parts of this model.

Please note: I already saved the STL for each part in the orientation I printed them on my FDM printer. Hence, when you load the STL in your slicer software, you don’t need to orientate them again, unless you want to try to print them in a different orientation.

Below are some tips

  • All magnet holes can be printed without support regardless of their positions/orientations on the model. Please don’t generate support for these holes (unless you really need to). Otherwise, you may struggle to remove support inside the holes due to restricted access. The easiest way to stop Cura from generating support inside these magnet holes is to use support blocker to cover the holes.

  • I highly recommend you to purchase and use the Steel Dowel Pins listed below (so that the parts can move smoothly around the joints). However, if you don’t really bother about the moving parts of the model, you can print the Dowel Pins instead – you can find STL’s of the Dowel Pins in various folders.

  • I highly recommend you to purchase and use the 10mm dia x 330mm L Steel Rods listed below so that you can use them in conjunction with the assembly fixtures to ensure that each section of the tower is built as accurately as possible. I purchased them at 330mm length because they are off-the-shelves items in the UK. You can purchase them in any other lengths as long as they are at least 230mm long.

  • I highly recommend you to purchase and use the 10mm dia x 1500mm L Steel Rods listed below to ensure that your OLIT tower is sturdy, especially if you plan to lift the Starship-S2 or Booster-S2 with it. These Steel Rods act like the skeleton of the model which they run all the way from the bottom of the Base to the top of the OLIT. You don’t need to get them exactly 1500mm long but ideally, you want their lengths to be between 1485mm – 1515mm. If you can’t get hold of these rods or don’t want to use them, you can still print some 10mm dia x 50mm Dowel Pins and use them to joint & glue the tower sections together.

    For US clients: You may find it easier to source 3/8″ rods rather than 10mm dia rods. Therefore, if you want to use 3/8″ rods instead, please use the (OLIT-S2 3/8″ Mod) folder included in the STL package. You can also download this mod FREE OF CHARGE via our Morethan3D Discord Server under #free-giveaway channel

  • This model is designed at 1:96 scale and I highly recommend you to print at this scale to achieve the highest quality. However, if you decided to print it at a different scale, please be aware that the magnets I selected for this model will no longer fit and you will have to glue the parts together.

How to assemble this model?

So now you’ve got all your parts printed? Great! Let’s assemble the model. I’ll take you through the assembly process step by step but before that, you need to purchase some items:

  • 10mm dia x 2mm thick N42 Neodymium magnets (LINK) | Qty: 58-off
  • 5mm dia x 3mm thick N42 Neodymium magnets (LINK) | Qty: 92-off
  • 3mm dia x 2mm thick N42 Neodymium (LINK) | Qty: 28-off
  • 5mm dia x 20mm L Dowel Pin (LINK) | Qty: 23-off
  • 5mm dia x 28mm L Dowel Pin (LINK) | Qty: 12-off
  • 10mm dia x 330mm L Steel Rod (LINK) | Qty: 4-off
  • 10mm dia x 1500mm L Steel Rod (LINK) | Qty: 4-off
  • Ball Bearing 35mm O.D x 17mm I.D x 10mm Race Width (LINK) | Qty: 2-off
  • 5mm dia Steel Bearing Ball (LINK) | Qty: 40-off
  • Polyester Cord String 1mm dia (LINK) | Qty: 20 meters
  • 2mm Diameter x 14mm Length Acrylic Round Rod (LINK) | Qty: 5-off
  • BASF Forward AM Ultrafuse TPC 45D Silver 2.85mm 500g (LINK) | Qty: 1-off spool (I simply cut this filament into short strands to make the flexible pipes for the model, you don’t need to use the exact same one, any flexible filament is fine)
  • M3 x 10mm Hex Socket Cap Screw (LINK) | Qty: 4-off
  • M3 Hex Nut (LINK) | Qty: 4-off
  • Super glue (LINK) | Qty: 1 bottle

* IF YOU HAVE ALREADY BUILT THE OLIT-S1 and just need to upgrade it to OLIT-S2, below is what you need:

  • 5mm dia x 3mm thick N42 Neodymium magnets (LINK) | Qty: 30-off
  • 3mm dia x 2mm thick N42 Neodymium (LINK) | Qty: 2-off
  • 5mm dia x 20mm L Dowel Pin (LINK) | Qty: 9-off
  • 5mm dia Steel Bearing Ball (LINK) | Qty: 4-off
  • Polyester Cord String 1mm dia (LINK) | Qty: 2 meters
  • 2mm Diameter x 14mm Length Acrylic Round Rod (LINK) | Qty: 5-off
  • BASF Forward AM Ultrafuse TPC 45D Silver 2.85mm 500g (LINK) | Qty: 1-off spool (I simply cut this filament into short strands to make the flexible pipes for the model, you don’t need to use the exact same one, any flexible filament is fine)
  • Super glue (LINK) | Qty: 1 bottle

STEP 1: Examine the model

At this step, all I want you to do is view the fully completed OLIT-S2 model  to get a good understanding of each section of the model and where all the parts are located. Because there are a lot of magnets you need to fit during the assembly process, doing this first step will give you an idea of how to fit the magnets in each part correctly. Please load the STL file ‘OLIT-S2_Assembly‘ using your CAD software or Slicer.

The OLIT-S2 has many new parts (more than 100 parts) added to its earlier version. All of these new parts can be retro-fitted to the OLIT-S1. The upgraded parts are grouped into several sub-folders. Please see below where you can find all the parts required for each of the STEP in this instruction:

1, Mesh Floor: STEP 2 to STEP 7

2, Main Pipe System: STEP 8 to STEP 12

3, QD System: STEP 13 to STEP 15

4, Elevator System: STEP 16 to STEP 18

5, Chopticks: STEP 19

6, OLIT Shielding: STEP 20

STEP 2: Install Mesh Floor (Launch Tower_Section 1)

Parts required (refer to the photos below):

  • 1x Launch Tower_Section 1 (a)
  • 6x Mesh Floor (Large) (b)
  • 4x Mesh Floor (Small) (c)
  • 2x Mesh Floor_3 Holes (Large) (d)

Assembly process:

  1. STEP 2a: Install the correct Mesh Floors to Level 1 of the Launch Tower_Section 1 (see pic below)
  2. STEP 2b: Install the correct Mesh Floors to Level 2 of the Launch Tower_Section 1 (see pic below)

STEP 3: Install Mesh Floor (Launch Tower_Section 2)

Parts required (refer to the photos below):

  • 1x Launch Tower_Section 2 (a)
  • 1x Mesh Floor_3 Holes (Large) (b)

Assembly process:

  1. STEP 3a: Install the Mesh Floor to Level 2 of the Launch Tower_Section 2 (see pic below)

STEP 4: Install Mesh Floor (Launch Tower_Section 3)

Parts required (refer to the photos below):

  • 1x Launch Tower_Section 3 (a)
  • 1x Mesh Floor_3 Holes (Large) (b)

Assembly process:

  1. STEP 4a: Install the Mesh Floor to Level 2 of the Launch Tower_Section 3 (see pic below)

STEP 5: Install Mesh Floor (Launch Tower_Section 4)

Parts required (refer to the photos below):

  • 1x Launch Tower_Section 4 (a)
  • 1x Mesh Floor_3 Holes (Large) (b)
  • 1x Mesh Floor_2 Holes (Large) (c)

Assembly process:

  1. STEP 5a: Install the correct Mesh Floor to Level 1 of the Launch Tower_Section 4 (see pic below)
  2. STEP 5b: Install the correct Mesh Floor to Level 2 of the Launch Tower_Section 4 (see pic below)

STEP 6: Install Mesh Floor (Launch Tower_Section 5)

Parts required (refer to the photos below):

  • 1x Launch Tower_Section 5 (a)
  • 11x Mesh Floor (Large) (b)
  • 6x Mesh Floor (Small) (c)
  • 1x Mesh Floor_1 Hole (Large) (d)

Assembly process:

  1. STEP 6a: Install the correct Mesh Floors to Level 0 of the Launch Tower_Section 5 (see pic below)
  2. STEP 6b: Install the correct Mesh Floors to Level 1 of the Launch Tower_Section 5 (see pic below)
  3. STEP 6c: Install the correct Mesh Floors to Level 2 of the Launch Tower_Section 5 (see pic below)

STEP 7: Install Mesh Floor (Launch Tower_Section 8)

Parts required (refer to the photos below):

  • 1x Launch Tower_Section 8 (a)
  • 5x Mesh Floor (Large) (b)
  • 2x Mesh Floor (Small) (c)

Assembly process:

  1. STEP 7a: Install the correct Mesh Floors to Level 1 of the Launch Tower_Section 8 (see pic below)
  2. STEP 7b: Install the correct Mesh Floors to Level 2 of the Launch Tower_Section 8 (see pic below)

STEP 8: Install Main Pipe System (Launch Tower_Section 1)

Parts required (refer to the photos below):

  • 1x Base (a)
  • 1x Launch Tower_Section 1 from STEP 2 (b)
  • 1x Pipe Holder (c)
  • 1x Pipe_01_01 (d)
  • 1x Pipe_02_01 (e)
  • 1x Pipe_03_01 (f)

Assembly process:

  1. STEP 8a: Glue the Pipe Holder to the Base (see pic below for correct location & orientation)
  2. STEP 8b: Stack Launch Tower_Section 1 to the Base, then install 3x Pipes to the Base (see pic below for correct location & orientation)

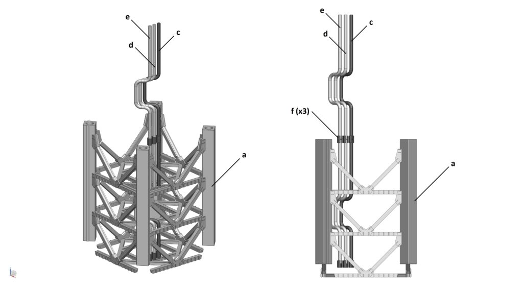
STEP 9: Install Main Pipe System (Launch Tower_Section 2)

Parts required (refer to the photos below):

  • 1x Sub-assembly from STEP 8 (a)
  • 1x Launch Tower_Section 2 from STEP 3 (b)
  • 1x Pipe_01_02 (c)
  • 1x Pipe_02_02 (d)
  • 1x Pipe_03_02 (e)
  • 3x C Clip (f)

Assembly process:

  1. STEP 9a: Use C Clips to install 3x new pipes to the ones previously installed from STEP 8 (see pic below for correct location & orientation)
  2. STEP 9b: Stack Launch Tower_Section 2

STEP 10: Install Main Pipe System (Launch Tower_Section 3)

Parts required (refer to the photos below):

  • 1x Sub-assembly from STEP 9 (a)
  • 1x Launch Tower_Section 3 from STEP 4 (b)
  • 1x Pipe_01_03 (c)
  • 1x Pipe_02_03 (d)
  • 1x Pipe_03_03 (e)
  • 3x C Clip (f)

Assembly process:

  1. STEP 10a: Use C Clips to install 3x new pipes to the ones previously installed from STEP 9 (see pic below for correct location & orientation)
  2. STEP 10b: Stack Launch Tower_Section 3

STEP 11: Install Main Pipe System (Launch Tower_Section 4)

Parts required (refer to the photos below):

  • 1x Sub-assembly from STEP 10 (a)
  • 1x Launch Tower_Section 4 from STEP 5 (b)
  • 1x Pipe_01_04 (c)
  • 1x Pipe_01_05 (d)
  • 1x 90 Bend Joint (e)
  • 1x C Clip (f)
  • 1x Magnet (5mm dia x 3mm thick) (highlighted in RED)

Assembly process:

  1. STEP 11a: Assemble the top segment of Pipe_01 (see pic below for correct location & orientation)
  2. STEP 11b: Stack Launch Tower_Section 4, then use C Clip to install the top segment of Pipe_01 to the ones previously installed from STEP 10 (see pic below for correct location & orientation)

STEP 12: Install Main Pipe System (Launch Tower_Section 5)

Parts required (refer to the photos below):

  • 1x Sub-assembly from STEP 11 (a)
  • 1x Launch Tower_Section 5 from STEP 6 (b)
  • 1x Pipe_02_04 (c)
  • 1x Pipe_02_05 (d)
  • 1x Pipe_03_04 (e)
  • 1x Pipe_03_05 (f)
  • 2x 90 Bend Joint (g)
  • 2x C Clip (h)
  • 2x Magnet (5mm dia x 3mm thick) (highlighted in RED)

Assembly process:

  1. STEP 12a: Assemble the top segments of Pipe_02 and Pipe_03 (see pics below for correct location & orientation)
  2. STEP 12b: Stack Launch Tower_Section 5, then use C Clips to install the top segments of Pipe_02 and Pipe_03 to the ones previously installed from STEP 10 (see pic below for correct location & orientation)

STEP 13: Install QD Arm Plumbing

Parts required (refer to the photos below):

  • 1x QD Arm_Pipe_01_01 (a)
  • 1x QD Arm_Pipe_01_02 (b)
  • 1x QD Arm_Pipe_01_03 (c)
  • 1x QD Arm_Pipe_01_04 (d)
  • 1x QD Arm_Pipe_02_01 (e)
  • 1x QD Arm_Pipe_02_02 (f)
  • 1x QD Arm_Pipe_02_03 (g)
  • 1x QD Arm_Pipe_02_04 (h)
  • 1x QD Arm_Pipe_03_01 (i)
  • 1x QD Arm_Pipe_03_02 (j)
  • 1x QD Arm_Pipe_03_03 (k)
  • 1x 90 Bend Multi Joint (l)
  • 1x 85 Bend Multi Joint (m)
  • 2x 90 Bend  Joint (n)
  • 1x QD Arm (from OLIT-S1) (o)
  • 3x Magnet (5mm dia x 3mm thick) (highlighted in RED)

Assembly process:

  1. STEP 13a: Assemble the QD Arm Plumbing  (see pics below for correct location & orientation)
  2. STEP 13b: Glue the QD Arm Plumbing to the QD Arm (see pics below for correct location & orientation)

STEP 14: Assemble the new QD Claw

Parts required (refer to the photos below):

  • 1x QD Arm Actuator Case (a)
  • 1x QD Arm Actuator Shaft (b)
  • 1x QD Arm Actuator Support (c)
  • 1x Starship QD Arm Link (Front) (d)
  • 1x Starship QD Arm Link (Rear) (e)
  • 1x Starship QD Frame (f)
  • 1x Starship QD Panel (g)
  • 1x Starship QD Support (Front) (h)
  • 1x Starship QD Support (Rear) (i)
  • 1x QD Claw_Upper Arm_LH (j)
  • 1x QD Claw_Upper Arm_RH (k)
  • 5x 2mm Dia Pin (l)
  • 2x Strand of flexible filament (2.85mm dia) (m)
  • 1x QD Claw_Main Body (from OLIT-S1) (n)
  • 2x Magnet (3mm dia x 2mm thick) (highlighted in RED)

Assembly process:

  1. STEP 14a: Assemble the Starship QD Assembly (see pics below). Cut 5x pieces of 2mm dia rod into length (approx. 14mm) (l) and use them as pins to connect all the linkages together. Cut 2x equal strand of flexible filament (2.85mm dia) into appropriate length and use them to represent the flex pipes (m)
  2. STEP 14b: Glue the Starship QD Assembly to the QD Claw_Main Body (from OLIT-S1)
  3. STEP 14c: Replace the existing QD Claw_Upper Arms (LH&RH) from the OLIT-S1 by new ones

STEP 15: Install the QD Arm assembly to the tower

Parts required (refer to the photos below):

  • 1x Sub-assembly from STEP 12
  • 1x Sub-assembly from STEP 13
  • 1x Sub-assembly from STEP 14

Assembly process:

  1. STEP 15: Install the QD Arm assembly to the tower. Ensure that all 3x Pipes coming off the tower at STEP 12 (highlighted in AMBER) are aligned with with all 3x Pipes coming off the QD Arm at STEP 13 (highlighted in BLUE)

As the Pipes are connected together at the joints with magnets, when the QD Arm is rotated, the 3x Pipes coming off the QD Arm will also rotate around these joints.

STEP 16: Assemble the Elevator Shaft

Parts required (refer to the photos below):

  • 1x Elevator Shaft_01 (a)
  • 1x Elevator Shaft_02 (b)
  • 1x Elevator Shaft_03 (c)
  • 1x Elevator Shaft_04 (d)
  • 1x Elevator Shaft_05 (e)
  • 1x Elevator Shaft_06 (f)
  • 1x Elevator Shaft_07 (g)
  • 1x Elevator Shaft_08 (h)
  • 7x Dowel Pin (5mm x 20mm L) (i)

Assembly process:

  1. STEP 16: Connect all the individual Elevator shafts together in the correct order using Dowel Pins (the number of each shaft is embossed near the bottom).

Do NOT glue the shafts together at this STEP.

STEP 17: Install the Elevator Shaft to the tower

Parts required (refer to the photos below):

  • 1x Elevator Shaft from STEP 16
  • 1x Tower assembly

Assembly process:

  1. STEP 17a: Lower the entire Elevator Shaft into the centre of the OLIT tower assembly (you’ll need to remove Launch Tower_Section 9a/9b first). Note that the Elevator Shaft is split into 8 sections (numbered #1 to #8), each section has an equal length to the corresponding section of the Launch Tower.  Also, the top of the Elevator Shaft should be just above the top floor of Launch Tower_Section 8
  2. STEP 17b: Glue each section of the Elevator Shaft to the corresponding section of the Launch Tower. For example: Elevator Shaft #1 is glued to Launch Tower_Section 1, Elevator Shaft #2 is glued to Launch Tower_Section 2, and so on. This means whenever you need to disassemble the OLIT, the Elevator Shaft for each section of the Launch Tower will remain in the correct location & orientation.

STEP 18: Install the Elevator System

Parts required (refer to the photos below):

  • 1x Launch Tower_Section 9a_v2 (a)
  • 1x Elevator (b)
  • 2x Pulley (c)
  • 2x Dowel Pins (5mm dia x 20mm L) (d)
  • 1x Cable (about 2 meters long) (e)

Assembly process:

  1. STEP 18a: Slide the Elevator into the Elevator Shaft
  2. STEP 18b: Replace the existing Launch Tower_Section 9a with the new Launch Tower_Section 9a_v2
  3. STEP 18c: Tie one end of the cable to the Elevator, and run the other end of the cable through the 2 new pulleys under the Launch Tower_Section 9a_v2 floor. The Elevator can now be lowered/raised by pulling the cable.

STEP 19: Assemble the Chopstick Alignment Guides

Parts required (refer to the photos below):

  • 1x Chopstick_LH from OLIT-S1 (a)
  • 1x Chopstick_RH from OLIT-S1 (b)
  • 1x Alignment Guides_LH (c)
  • 1x Alignment Guides_RH (d)
  • 4x Steel Ball (5mm Dia) (e)
  • 4x Magnet (5mm dia x 3mm thick) (highlighted in RED)

Assembly process:

  1. STEP 19a: Glue 2x Magnets (5mm dia x 3mm thick) to the magnet holes at the bottom of the Chopstick_LH and Chopstick_RH
  2. STEP 19b: Glue 2x Steel Balls to the Alignment Guides_LH and Alignment Guides_RH
  3. STEP 19c: Install the Alignment Guides to their corresponding Chopsticks

STEP 20: Install OLIT Shielding

Parts required (refer to the photos below):

  • 1x OLIT Assembly from STEP 19 (a)
  • 2x Base Pipe Cover (b)
  • 1x Base Shield_LH (c)
  • 1x Base Shield_RH (d)
  • 4x Vertical Outer Shield (e)
  • 2x Vertical Outer Shield (Bottom) (f)
  • 5x Pipe Cover (g)
  • 5x Pipe Cover Bracket (h)
  • 20x Magnet (5mm dia x 3mm thick) (highlighted in RED)

Assembly process:

  1. STEP 20a: Glue 2x Magnets (5mm dia x 3mm thick) to the magnet holes on each Pipe Cover and 2x Magnets (5mm dia x 3mm thick) to the magnet holes on each Pipe Cover Bracket
  2. STEP 20b: Install 5x sets of Pipe Cover/Pipe Cover Bracket to the OLIT assembly
  3. STEP 20c: Install the remaining shielding to the OLIT assembly

CONGRATULATIONS! You’ve have now completed upgrading your OLIT-S1 to OLIT-S2!

Your Cart

No products in the basket.